Mitsubishi Lancer X (NC)

Підсвітка косметичних дзеркал або як зробити дівчатам приємно.

Я їжджу на Mitsubishi Lancer X
Київ, Україна

 Вітання. Знову я зі своїм бажанням покращити комплектацію свого автомобіля.


 Сидів я якось вночі за кермом та захотілося мені глянути в косметичне дзеркало, котре в протисонячному козирку на стелі. Я взагалі туди рідко заглядаю, можна сказати ніколи, то більш потрібно для дівчат, а тут якась соринка в око втрапила. Нічого я так і не зміг розгледіти, бо дзеркальце не має підсвітки, як в іномарках, не допомогло мені навіть ввімкнуте світло в салоні, адже розміщений на даху плафон фізично не може освітити морду лиця. "Все зроблено для людей" - подумав я. І такі дрібниці мене часом підбішують, але поки є сили то виправляти. 


 Почав я думку гадати, як зробити туди підсвітку. Нехай дівчатам приємніше буде марафет наводити. Можна було би спробувати підібрати козирки одразу з підсвіткою від інших автівок, чим я в принципі і зайнявся, але в процесі знайшов простіше рішення. На якомусь Лексусі не заморочувалися, на заводі встановили додаткові плафони прямо в стелю, напроти косметичних дзеркал.




 Таке мене теж влаштовує, лишилося лише придумати, як ті плафони вмикати. Не можуть же вони світитися постійно. В тому Лексусі мабуть вимикачі в козирках - відкриваєш кришку дзеркала і світло вмикається. Почав я копати далі і знайшов. На Кіа встановлюють аналогічно розміщені плафони, але кожен має окремий вимикач на корпусі.





Оце те що треба, люблю прості рішення. Такі плафони я одразу купив.




Номери плафонів 92891 3sXXX та 92892 3sXXX, правий та лівий відрізняються. Щоб надійно та жорстко зафіксувати їх в обшивці даху, я зі шматка пластику вирізав дві рамки.




Їх приклею зі зворотнього боку до обшивки даху, щоб за них фіксувалися застібки на плафонах. Також їх я використав як трафарет для вирізання отворів в обшивці. Спочатку наклеїв скотч і обвів олівцем отвори.




Потім маленьким лезом вирізав обшивку.
Зробивши перший отвір, стало зрозуміло, що я попав в просак. За отвором виднілися якісь ребра жорсткості, котрі заважали вставити плафон.




Знайшов старе фото своєї автівки зі знятою обшивкою даху і все стало зрозуміло. В тих місцях зсередини до обшивки дійсно приклеєні підсилювачі з білого пластику.




При чому підсилювачі клеять лише для Америки, на європейських автівках такого не має. Ось фото обшивки європейського Ланцера.




Довелося познавати труднощі проктології, та через отвір ножиком підрізати пару ребер. Після плафон з приємним зусиллям сів на місце.




Так навіть краще, не потрібно всередину клеїти рамки, бо застібка плафона чіпляється за пластик. Та й додаткова жорсткість даху в місцях установки плафонів не завадить.
З іншого боку вирізав аналогічно.




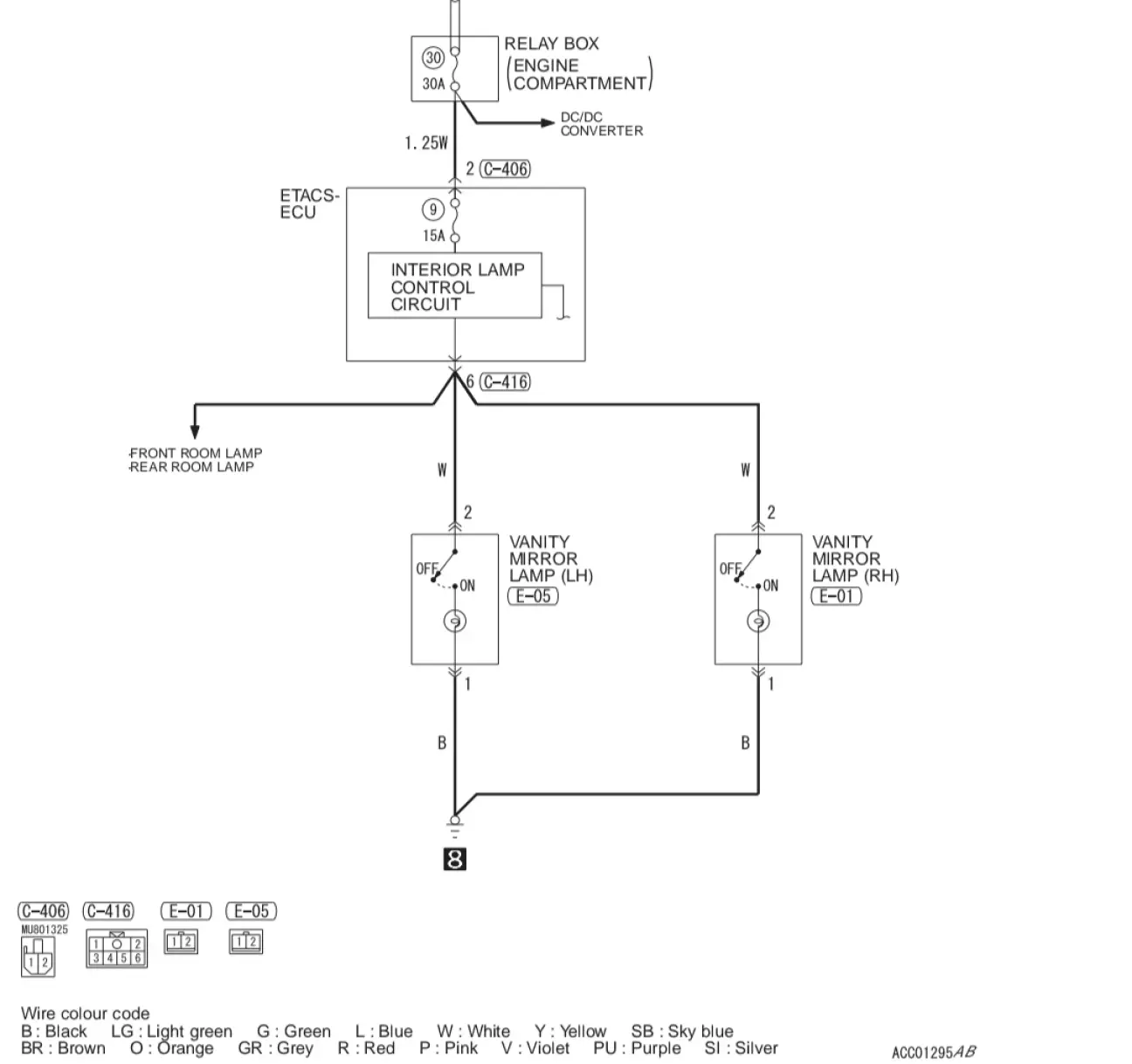
Тепер лишалося подати на плафони живлення. Тут все просто, треба під'єднатися до проводів переднього плафона. Там якраз є постійний плюс і мінус, тож підсвітка буде працювати завжди. Також є система енергозбереження, котра відрубає живлення, якщо забутися вимкнути світло.



На LancerX підсвітку косметичних дзеркал штатно не встановлювали на жодну з комплектацій, але саме по такій схемі вона під'єднана на одноплатформенику ASX (С-316 та С-416 це один і той же роз'єм).





Щоб не різати штатні дроти, я підібрав ідентичні до роз'єма переднього плафона D-01 роз'єми папа/мама і зробив перехідну проводку.





Також потратив трошки часу та зробив в нові плафони світлодіодні лампочки, такі як вже робив і ставив раніше в освітлення салону і багажника.








Ну і все, засунув електропроводку на місце.




Під'єднав роз'єми, встановив плафони в стелю і вони одразу запрацювали, без будь яких реєстрацій та активацій. В темноті світло чітко падає на морду лиця.



Дуже зручно, що клавіші на плафонах зроблено асиметричними, коли світло ввімкнено, то клавіша випирає назовні з корпуса, тож в закритому положенні козирок тисне на неї і автоматично вимикає.



Місце установки плафонів я вибирав довго та нудно, тож можна закривати козирок навіть з відкритою кришкою дзеркала, нічого не буде задівати і в кінці світло також вимкнеться.







На цьому все. Бувайте здорові. А я викреслив ще один пунктик у в списку планів по автомобілю.




Реклама
Перевіри оголошення онлайн!
Пробіг 86360 км.
Опубліковано: 30 серпня 2025р. 17:59
18 0 0

Коментарі

Щоб залишати коментарі, потрібно авторизуватись.
Я їжджу на Skoda Fabia Mk2
От навіщо ви це зробили? Тепер і я хочу собі таке) Бо в мене теж манія на покращення комплектації свого автомобіля))
1
11 лютого 14:43
Круто, думав про це, але здалося, що кришка дзеркала перкриє світло🤷‍♂️
02 лютого 20:13
Автор Я їжджу на Mitsubishi Lancer X
RacingGreen
Круто, думав про це, але здалося, що кришка дзеркала перкриє світло🤷‍♂️
RacingGreen, це хіба як догори сильно козирок підняти, але ж тоді і в дзеркалі відображення не буде видно.
Все добре, я довго плафон приміряв і досяг таки чого хотів - щоб лице освітлювало та кнопку вимикало. Навіть якщо кришку на дзеркалі не закрити і закривати козирок, то нічого не зачіпає.
02 лютого 20:41
В мене колись такі плафони стояли на авто. Вони вимикається самим козирком, тобто він натискає на кнопку при закритті та плафон гасне. Але треба знайти таке місце щоб було достатньо для натискання.
30 листопада 2025р. 09:43
Автор Я їжджу на Mitsubishi Lancer X
Alex_Odesa
В мене колись такі плафони стояли на авто. Вони вимикається самим козирком, тобто він натискає на кнопку при закритті та плафон гасне. Але треба знайти таке місце щоб було достатньо для натискання.
Alex_Odesa, так і є. Я довго шукав правильне положення ліхтарика, доки не вирізав отвір. Тепер при закритті косметичне дзеркало тисне на клавішу і світло автоматично вимикається.
При чому навіть якщо кришку на дзеркалі забутися закрити і закривати козирок, то нічого не зачіпає. Спочатку кришка закриється, а в кінці все одно клавішу натисне все і світло погасне.
1
30 листопада 2025р. 12:59
veti-k, Так звичайно зручніше вище викладеному бортовому, але в порівнянні з козирками від 3-го Аута тут вже велика різниця плані зручності та саме головне ВІЛЬНОГО часу та бажання займатись даним мистецтвом)
03 вересня 2025р. 21:29
Якщо час є та рівні руки то звичайно зручна дрібничка яка іноді потрібна. Також були думи аналогічного простого рішення даного питання підсвідки. (Сподіваюсь доберусь)
02 вересня 2025р. 00:20
Автор Я їжджу на Mitsubishi Lancer X
Yarus-Aut
Якщо час є та рівні руки то звичайно зручна дрібничка яка іноді потрібна. Також були думи аналогічного простого рішення даного питання підсвідки. (Сподіваюсь доберусь)
Yarus-Aut, на Ауті мабуть можна козирки від третього Оутлендера поставити.
Хоча мені не подобається, як світло прямо в очі світить, зверху приємніше. Але як кому.
03 вересня 2025р. 19:02
Я їжджу на KIA Sportage (5G)
А ще в КІА, коли підіймаєш козирок - то підсвітка автоматично вимикається, через натискання козирком кнопки підсвітки.
Перевірте, можливо і у вас так буде, якщо у вдалому місці врізали підсвітку.
1
30 серпня 2025р. 19:29
Я їжджу на KIA Sportage (5G)
veti-k
DriverCh, звісно вимикається. Я в тексті написав за це.
veti-k, Так, дійсно. Чомусь упустив цю частину.
Соррі
30 серпня 2025р. 19:39
Автор Я їжджу на Mitsubishi Lancer X
DriverCh
veti-k, Так, дійсно. Чомусь упустив цю частину.Соррі
DriverCh, та все добре. Приємно, що коментуєте.
1
30 серпня 2025р. 19:51
Я їжджу на KIA Sportage (3G)
DriverCh
А ще в КІА, коли підіймаєш козирок - то підсвітка автоматично вимикається, через натискання козирком кнопки підсвітки. Перевірте, можливо і у вас так буде, якщо у вдалому місці врізали підсвітку.
DriverCh, теж коли побачив фото плафонів Kia/Hyundai хотів написати про "автоматичне" вимикання , потом прочитав далі, що він вже все знає 😎
1
30 серпня 2025р. 21:23
Нє, ну зажати туди підсвітку це вже жлобство. Наскільки ж міцу економить....а колись я сам хотів лансер....
30 серпня 2025р. 18:05
Автор Я їжджу на Mitsubishi Lancer X
Uns8ted
Нє, ну зажати туди підсвітку це вже жлобство. Наскільки ж міцу економить....а колись я сам хотів лансер....
Uns8ted, це точно. Я сам дивуюся. І не соромно їм таке було продавати.
1
30 серпня 2025р. 18:14
Я їжджу на Volkswagen Jetta VII
Uns8ted
Нє, ну зажати туди підсвітку це вже жлобство. Наскільки ж міцу економить....а колись я сам хотів лансер....
Uns8ted, ну в моєму ваг корчі підсвітка в самих козирках вмикається, як відкриваєш шторку дзеркала. Але підсвітки ніг не було, підсвітки ніші для телефону теж, підсвітка бардачка - мінус. Остання все в планах, та ніяк натхнення не прийде.

Кожний виробник економить по своєму
30 серпня 2025р. 22:09